[Futur] Samsung planche sur un smartphone pliable

Samsung a déposé un nouveau brevet sur un téléphone enroulable.
IMG_0820

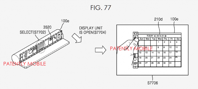
Un brevet vient d’être accordé à Samsung par le United States Patent and Trademark Office. Ce brevet décrit des téléphones qui utilisent d’écrans flexibles, permettant d’enrouler l’écran autour de l’unité centrale.
IMG_0822
IMG_0819

Avatar de Inconnu

Auteur : marcriobe

Acteur pendant 15 ans du monde de l’industrie, il a mis en place et optimisé de nombreuses activités de par le monde. Passionné de technologies, il a fondé et dirigé pendant 5 ans une startup innovante labellisée par Microsoft (BizSpark), levé 750K€ et déposé 2 brevets. Aujourd’hui Responsable du module Gestion de l’Innovation en Master 2 (FSEG) et Directeur de projets et de l’Offre Sécurisation de l’Innovation, Marc RIOBE intervient auprès des Grands Comptes de la métropole lilloise.

Laisser un commentaire